污水处理实战经验总结
我国污水处理,从近几年提上工作日程。原本的污水处理站,根本不能有要的解决现有的经济发展工业排放。
借鉴国外发达国家从上世纪也出现了污水。废气。废渣。废料的解决办法废气还是要排放大气,这就是雾霾各国都有的原因之一。
既然废气没法解海还是交给地球知己解决。废渣的解决还有点成效,压缩。烧结。掩埋基本还可以回用。废料基本是出口,基于
不发达国家海可以废物利用原则,以前我国也是进口。2017年国家开始不再进口垃圾,这项垃圾处理一度成为世界问题。说回污水
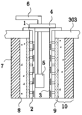
今天我要说的是污水处理最难的一项,就是浓缩液的处理。渗滤液污水厂浓缩液的回灌装置,包括回灌井(1),其特征在于:
所述回灌井(1)包括圆形筒(2)和钢架(3),所述圆形筒(2)的外侧被过滤层(10)包裹,所述过滤层(10)包括泥土层
(7)、砂砾层(8)和铁丝网(9),所述圆形筒(2)上开设有圆形通孔(201),且圆形筒(2)的内部开设有滑槽(202),所述
滑槽(202)内部与滑杆(302)滑动连接,所述滑杆(302)固定连接在钢架(3)的外侧壁上,所述钢架(3)的侧壁上开设有
方形通孔(301),且钢架(3)的顶部与凸缘(303)固定连接,所述方形通孔(301)内部插接有海绵架(304),所述海绵架
(304)的内部包裹有消毒箱(305),所述钢架(3)的顶部与井盖(4)连接,且钢架(3)的内部固定连接有潜水抽水泵(5),
所述潜水抽水泵(5)的出水口与出水管(6)的一端连通,所述出水管(6)的另一端贯穿井盖(4)。
基于浓缩液的各个指标不同,我公司实地解决配合环保多项技术,总结。按污水的处理程度划分,污水处理可分为一级、二级和三级(深度)处理。一级处理主要是去除污水中呈悬浮状的固体污染物质,物理处理法中的大部分用作一级处理。经一级处理后的污水,BOD只能去除30%左右,仍不宜排放,还必须进行二级处理,因此针对二级处理来说,一级处理又属于预处理。二级处理的主要任务,是大幅度地去除污水中呈胶体和溶解状态的有机性污染物质(即BOD物质),常采用生物法,去除率(BOD)可达90%以上,处理后水中的BOD5含量可降至20~30mg/L,一般污水均能达到排放标准。但经二级处理后的污水中仍残存有微生物不能降解的有机污染物和氮、磷等无机盐类。深度处理往往是以污水回收、再次复用为目的而在二级处理工艺后增设的处理工艺或系统,其目的是进一步去除废水中的悬浮物质、无机盐类及其他污染物质。污水复用的范围很广,从工业上的复用到充作饮用水,对复用水水质的要求也不尽相同,一般根据水的复用用途而组合三级处理工艺,常用的有生物脱氮法、混凝沉淀法、活性炭过滤、离子交换及反渗透和电渗析等。
污水处理流程的组合,一般应遵循先易后难,先简后繁的规律,即首先去除大块垃圾及漂浮物质,然后再依次去除悬浮固体、胶体物质及溶解性物质。亦即,首先使用物理法,然后再使用化学法和生物法。
对于某种污水,采取由哪几种处理方法组成的处理系统,要根据污水的水质、水量,回收其中有用物质的可能性和经济性,排放水体的具体规定,并通过调查、研究和经济比较后决定,必要时还应当进行一定的科学实验。
最后我要说污水处理结合现在的技术必须有一个大的部门统一管理。比如基建管理。就这一项一般的企业公司就难以消受。再说污水处理结合了各个行业,不是那个单位就能理解的,必须有配合。浓缩液是各个行业浓缩的结晶,处理起来难度是一定的。不是不能解决,主要是解决必须有成本,工业时代解决商品需要成本,解决浓缩液也是一样的。
我是做电解的,多年的经验告诉我电解是可以处理浓缩液,成本太大,不适合现代推广,所以污水处理一个环节就可以让整个工程停止,成本的消耗公司单位没法解决。《只代表个人》
希望我的言论可以给有关单位有所帮助。
借鉴国外发达国家从上世纪也出现了污水。废气。废渣。废料的解决办法废气还是要排放大气,这就是雾霾各国都有的原因之一。
既然废气没法解海还是交给地球知己解决。废渣的解决还有点成效,压缩。烧结。掩埋基本还可以回用。废料基本是出口,基于
不发达国家海可以废物利用原则,以前我国也是进口。2017年国家开始不再进口垃圾,这项垃圾处理一度成为世界问题。说回污水
今天我要说的是污水处理最难的一项,就是浓缩液的处理。渗滤液污水厂浓缩液的回灌装置,包括回灌井(1),其特征在于:
所述回灌井(1)包括圆形筒(2)和钢架(3),所述圆形筒(2)的外侧被过滤层(10)包裹,所述过滤层(10)包括泥土层
(7)、砂砾层(8)和铁丝网(9),所述圆形筒(2)上开设有圆形通孔(201),且圆形筒(2)的内部开设有滑槽(202),所述
滑槽(202)内部与滑杆(302)滑动连接,所述滑杆(302)固定连接在钢架(3)的外侧壁上,所述钢架(3)的侧壁上开设有
方形通孔(301),且钢架(3)的顶部与凸缘(303)固定连接,所述方形通孔(301)内部插接有海绵架(304),所述海绵架
(304)的内部包裹有消毒箱(305),所述钢架(3)的顶部与井盖(4)连接,且钢架(3)的内部固定连接有潜水抽水泵(5),
所述潜水抽水泵(5)的出水口与出水管(6)的一端连通,所述出水管(6)的另一端贯穿井盖(4)。

基于浓缩液的各个指标不同,我公司实地解决配合环保多项技术,总结。按污水的处理程度划分,污水处理可分为一级、二级和三级(深度)处理。一级处理主要是去除污水中呈悬浮状的固体污染物质,物理处理法中的大部分用作一级处理。经一级处理后的污水,BOD只能去除30%左右,仍不宜排放,还必须进行二级处理,因此针对二级处理来说,一级处理又属于预处理。二级处理的主要任务,是大幅度地去除污水中呈胶体和溶解状态的有机性污染物质(即BOD物质),常采用生物法,去除率(BOD)可达90%以上,处理后水中的BOD5含量可降至20~30mg/L,一般污水均能达到排放标准。但经二级处理后的污水中仍残存有微生物不能降解的有机污染物和氮、磷等无机盐类。深度处理往往是以污水回收、再次复用为目的而在二级处理工艺后增设的处理工艺或系统,其目的是进一步去除废水中的悬浮物质、无机盐类及其他污染物质。污水复用的范围很广,从工业上的复用到充作饮用水,对复用水水质的要求也不尽相同,一般根据水的复用用途而组合三级处理工艺,常用的有生物脱氮法、混凝沉淀法、活性炭过滤、离子交换及反渗透和电渗析等。
污水处理流程的组合,一般应遵循先易后难,先简后繁的规律,即首先去除大块垃圾及漂浮物质,然后再依次去除悬浮固体、胶体物质及溶解性物质。亦即,首先使用物理法,然后再使用化学法和生物法。
对于某种污水,采取由哪几种处理方法组成的处理系统,要根据污水的水质、水量,回收其中有用物质的可能性和经济性,排放水体的具体规定,并通过调查、研究和经济比较后决定,必要时还应当进行一定的科学实验。
最后我要说污水处理结合现在的技术必须有一个大的部门统一管理。比如基建管理。就这一项一般的企业公司就难以消受。再说污水处理结合了各个行业,不是那个单位就能理解的,必须有配合。浓缩液是各个行业浓缩的结晶,处理起来难度是一定的。不是不能解决,主要是解决必须有成本,工业时代解决商品需要成本,解决浓缩液也是一样的。
我是做电解的,多年的经验告诉我电解是可以处理浓缩液,成本太大,不适合现代推广,所以污水处理一个环节就可以让整个工程停止,成本的消耗公司单位没法解决。《只代表个人》
希望我的言论可以给有关单位有所帮助。
